CLCXFR347 (RPWR347) Power Supply for GE LightSweep & TLC

The CLCXFR347 (RPWR347) power supply provides 347-volt input power for GE LightSweep lighting automation panels and legacy GE TLC systems, supplying low-voltage power to internal relays and control electronics.
SKU:
CLCXFR347 (RPWR347)
SKU:
CLCXFR347 (RPWR347)
Price:
US$419

The CLCXFR347V is the power supply used in GE Lighting Automation Panels, specifically within the INTRxx-xxx-xxxx panel assemblies that form part of the GE LightSweep system. In legacy GE Lighting Total Lighting Control (TLC) systems, this same power supply is referred to as RPWR347. Despite the difference in naming, the device serves the same functional role within both system architectures.

This page describes the CLCXFR347V / RPWR347 power supply based on documented product information and panel architecture. The focus is on clarifying how the power supply fits into GE LightSweep panels, while also providing context for sites that may still encounter the RPWR347 designation in older TLC installations.

Power Supply Role Within the Panel

The CLCXFR347V functions as the primary power supply for the lighting automation panel. It is responsible for delivering low-voltage power required by both relay hardware and panel intelligence modules. Rather than powering external field devices directly, the power supply supports internal panel components that coordinate lighting control and switching.

Within the GE LightSweep system, the power supply is installed as part of a complete panel assembly and is not intended to operate as a standalone device. Its design and ratings are aligned with the electrical and environmental requirements of the lighting automation panel enclosure.


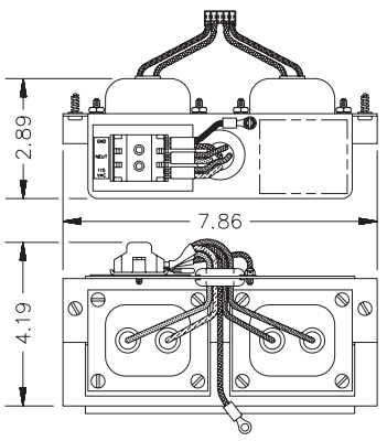
Complete Assembly Components

The CLCXFR347V / RPWR347 is installed as part of a complete power supply assembly. This assembly consists of four primary physical components that together form the installed unit within the panel enclosure.

  1. Tub
  2. Interior
  3. Power Supply (CLCXFR347V or RPWR347)
  4. Cover

These components provide structural support, electrical isolation, and protection for the transformer and associated electronics. The assembly is designed to be mounted within the lighting automation panel in a defined location, supporting consistent installation and service practices.

Transformer Configuration

The power supply incorporates two separate 50VA transformers. One transformer supplies power to relay hardware, while the other supplies power to intelligence modules and electronics within the panel. This separation helps ensure stable power delivery to sensitive electronics while supporting flexible relay wiring configurations.

By isolating relay and intelligence power domains, the design reduces the likelihood that relay switching activity will negatively impact the operation of control electronics. This approach aligns with typical lighting panel design practices where reliability and predictable operation are required.


Overcurrent and Surge Protection

The CLCXFR347V includes overcurrent protection as part of its transformer design. If an overload condition occurs, the transformer automatically shuts off to protect downstream components. Once the fault condition is removed, the transformer resets and resumes normal operation.

In addition to overcurrent protection, the power supply incorporates GE-MOV voltage spike protection. Metal Oxide Varistors are used to protect downstream electronics from powerline voltage spikes, helping to reduce the risk of damage caused by transient electrical events.

Use in LightSweep and Legacy TLC Systems

In current deployments, the CLCXFR347V is associated with GE LightSweep lighting automation panels and is referenced by that part number in documentation and ordering. In legacy TLC systems, the same device is commonly identified as RPWR347.

When maintaining or upgrading older installations, it is common to encounter the RPWR347 designation. Understanding that RPWR347 and CLCXFR347V refer to the same power supply helps avoid confusion during service, replacement, or retrofit planning. For most projects, Chipkin recommends planning upgrades toward the LightSweep platform rather than extending the lifecycle of older TLC infrastructure.


FAQ

What is the CLCXFR347V?

It is the power supply used in GE LightSweep lighting automation panels, providing low-voltage power to relays and intelligence modules.

What is RPWR347?

RPWR347 is the legacy TLC designation for the same power supply used in older GE Lighting Total Lighting Control systems.

How many transformers are included?

The power supply includes two separate 50VA transformers, one for relay hardware and one for intelligence modules.

Does the power supply include protection features?

Yes. It includes overcurrent protection with automatic reset and GE-MOV voltage spike protection.

I'd like to inquire about the CLCXFR347 (RPWR347) Power Supply for GE LightSweep & TLC CLCXFR347 (RPWR347). Please provide me with a quote for this product.

Specifications

  • Description: GE Lighting Power Supply
  • Catalog #: CLCXFR347
  • Operating Environment: 0-55 Degrees C (32-131 F) 0-95% RH, Non Condensing, Non corrosive atmosphere, Non explosive atmosphere
  • Weight: 6lbs / 2.7kg
  • Voltage/Hz: 115/50-60, 347/50-60
  • Codes: UL 916 Energy Management

Contact Us

Contact us via phone (+1 866-383-1657) or leave a detailed message below for sales, support, or any other needs

*Required Field
*Required Field
I'd like to receive the newsletter. *Check email for confirmation.
*Required Field
8:00am - 12:00pm 12:00pm - 5:00pm
Message Sent Successfully